Crankshaft, Piston, Drive Plate, Flywheel, and Damper for 2008 Chrysler Pacifica
No.
Part # / Description / Price
Price
1
Torque Converter Drive Plate
Mopar
Mopar Notes: Engines: 3.8L V6 OHV ENGINE. 4.0L V6 SOHC ENGINE.
Description: Rear Wheel Drive
2
3
Hex Head Lock Bolt, Mounting
Mopar
Mopar Notes: Engines: 3.8L V6 OHV ENGINE. 4.0L V6 SOHC ENGINE.
Description: M10X1.00X18.00. Torque Converter Drive Plate To Crankshaft
MSRP $8.25
$5.87
MSRP $8.25
$5.87
4
Hex Head Bolt
Mopar
Mopar Notes: Engines: 3.8L V6 OHV ENGINE. 4.0L V6 SOHC ENGINE. Transmissions: 4-SPEED AUTOMATIC VLP TRANSMISSION. 6-SPEED AUTOMATIC 62TE TRANSMISSION.
Description: M10X1.50X13.20. [32 Fluid Ounces] Minimum Ship Quantity Of 12
MSRP $7.60
$5.38
MSRP $7.60
$5.38
5
Hex Head Bolt And Washer, Mounting
Mopar
Mopar Notes: Engines: 4.0L V6 SOHC ENGINE.
Description: M12X1.75X70.00. Crankshaft Damper To Crankshaft
7
10
11
No.
Part # / Description / Price
Price
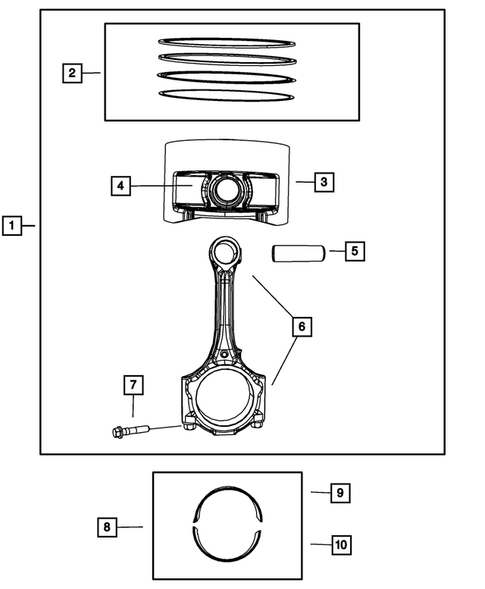
1
7
Connecting Rod Bolt, Mounting
Mopar
Mopar Notes: Engines: 4.0L V6 SOHC ENGINE.
Description: [M9x1.0x51.90]. Connecting Rod Cap To Connecting Rod
8
Connecting Rod Bearing Kit
Mopar
Mopar Notes: Engines: 4.0L V6 SOHC ENGINE.
Description: Standard. See Note
9
Connecting Rod Bearing Kit
Mopar
Mopar Notes: Engines: 4.0L V6 SOHC ENGINE.
Description: -0.0035 MM. See Note
10
Connecting Rod Bearing Kit
Mopar
Mopar Notes: Engines: 4.0L V6 SOHC ENGINE.
Description: +0.0035 MM. See Note
1 This price excludes a refundable manufacturer's core charge. Add the part to your cart to see the core charge.

